Procurar

Patente revela ideias da Samsung para mais smartphones dobráveis

De momento a tecnológica sul-coreana só anunciou o Galaxy Fold.

Patente revela ideias da Samsung para mais smartphones dobráveis Patente revela ideias da Samsung para mais smartphones dobráveis
Anterior Seguinte
Galeria

12 Fotos

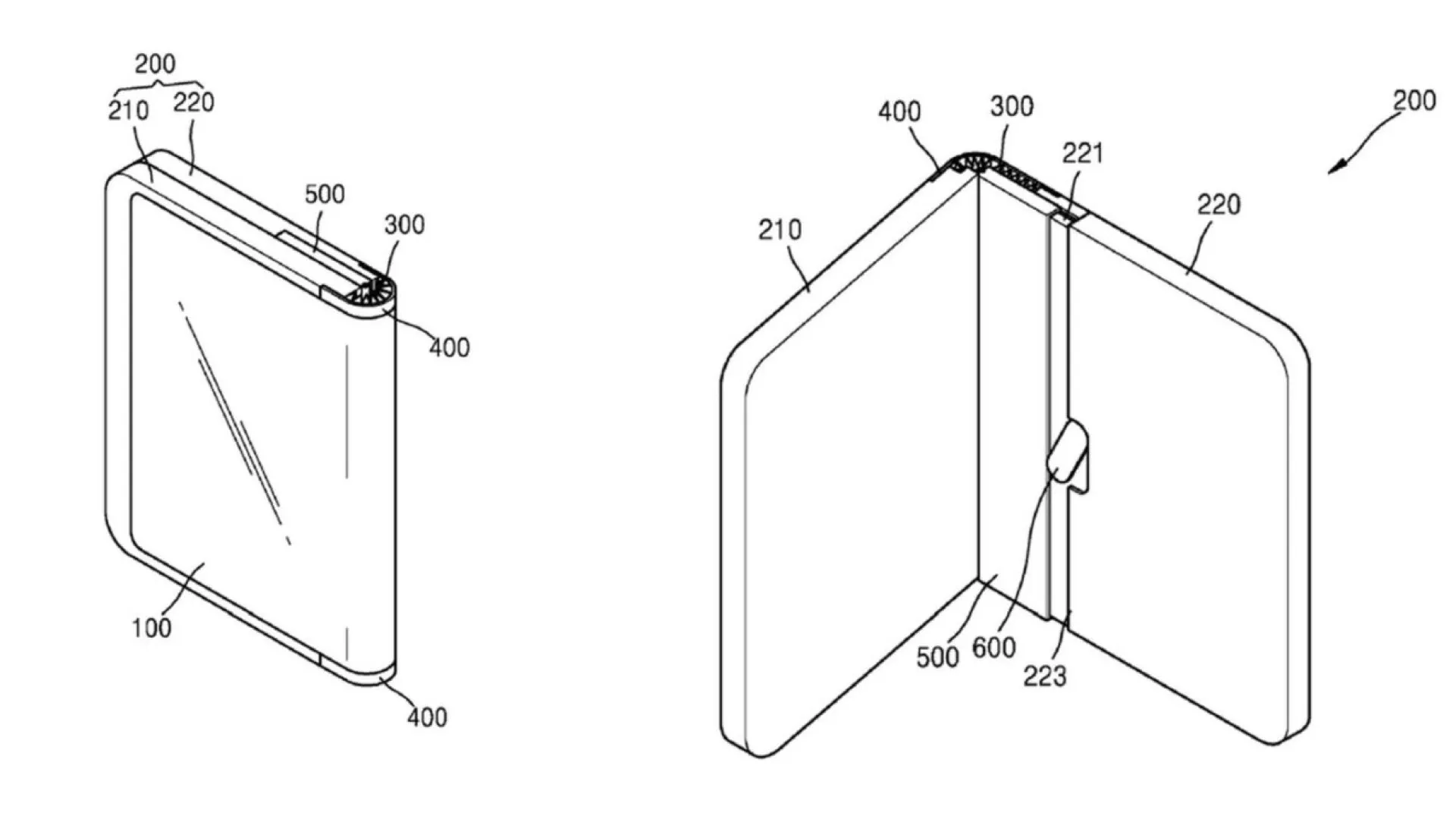
© Samsung / WIPO

Miguel Patinha Dias
12/03/2019 12:04 ‧ há 6 anos por Miguel Patinha Dias

Apesar de apenas ter revelado um smartphone de ecrã dobrável, correm rumores que a Samsung tem planos para mais dispositivos dentro desta nova categoria. Agora, o LetsGoDigital revelou imagens de uma patente registada pela Samsung no World Intellectual Property Office (WIPO) que aponta para isto mesmo.

Na patente em questão estão incluídas imagens que revelam que a Samsung tem ideias para mais dispositivos. No que diz respeito a design, estas imagens sugerem dispositivos com um aspeto diferente do que está presente no Galaxy Fold. Em alguns casos, parece que a Samsung está disponível para seguir a mesma via do Mate X da Huawei.

A Samsung tem-se mostrado defensiva em relação a críticas feitas ao Galaxy Fold, mantendo confiança que o design em concha é a decisão certa para esta categoria de produto.

Abaixo pode ver algumas das imagens contidas nesta patente da Samsung.

Leia mais: Não será fácil ter o smartphone dobrável da Samsung

Partilhe a notícia

Escolha do ocnsumidor 2025

Descarregue a nossa App gratuita

Nono ano consecutivo Escolha do Consumidor para Imprensa Online e eleito o produto do ano 2024.

* Estudo da e Netsonda, nov. e dez. 2023 produtodoano- pt.com

Recomendados para si

Newsletter

Receba os principais destaques todos os dias no seu email.

IMPLICA EM ACEITAÇÃO DOS TERMOS & CONDIÇÕES E POLÍTICA DE PRIVACIDADE

Mais lidas

1

2

3

4

5

6

7

8

9

10